KATEGORIJE
Alternator CARGO CAR114115
Šifra proizvoda: IC-G0WD1N
Cena: 31.472,58 RSD
*u cenu je uračunat PDV
Ne odgovara ti cena? Upiši željenu cenu koja ti odgovara. Potrudićemo se da ti damo najbolju ponudu!
Alternator (14V, 130A) odgovara: TOYOTA COROLLA, COROLLA VERSO 2.0D 01.02-02.07
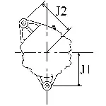
Napon: 14.0 V | Struja punjenja: 130.0 A | Remenica: Da | Broj kanala: 5.0 kom | Dimenzija: 58.2 mm | Šifra proizvoda: IC-G0WD1N
Napon: 14.0 V | Struja punjenja: 130.0 A | Remenica: Da | Broj kanala: 5.0 kom | Dimenzija: 58.2 mm | Šifra proizvoda: IC-G0WD1N
OE Šifre
| 554122RI | AD KUHNER |
| 114115 | ARTNR_Z_TCD |
| A6473(DENSO) | AS-PL |
| 0 986 049 221 | BOSCH |
| 0 986 084 270 | BOSCH |
| 1986S00630 | BOSCH |
| CAL40330 | CASCO |
| 9302 | CEVAM |
| DRA 4275 | DELCO REMY |
| 10421-03250 | DENSO |
| 104210-3251 | DENSO |
| 104210-3252 | DENSO |
| 104210-3980 | DENSO |
| 104210-3981 | DENSO |
| DAN 945 | DENSO |
| 235.190.1302 | DRI-EXCHANGE |
| 28-4781 | ELSTOCK |
| 210493 | ERA |
| 113365 | FARCOM |
| DENDAN945 | HC-CARGO |
| JA 1721 IR | HC-PARTS |
| 8EL 738 124-001 | HELLA |
| J5 112 132 | HERTH+BUSS |
| 063377503010 | MAGNETI MARELLI |
| 944390904070 | MAGNETI MARELLI |
| 440510 | VALEO |
| 13919 | WAI |
| 13919N | WAI |
| 23298R | WAI |
| 195.572.130 | PSH |
| 27060 27 070 | TOYOTA |
| 27060 27 100 | TOYOTA |
Deklaracija
| Model: | Alternator CARGO CAR114115 IC-G0WD1N |
| Naziv i vrsta robe: | Elektro sistem |
| Barkod: | CAR114115 |
| Zemlja uvoza: | Srbija |
| Prava potrošača: | Zagarantovana sva prava potrošača po osnovu zakona o zaštiti potrošača. |
Želiš više informacija o ovom proizvodu?
Upiši svoj broj mobilnog telefona i naš operater ćete kontaktirati u roku od par minuta.
Klijenti koji su naručili
Alternator CARGO CAR114115
naručili su i neki od sledećih proizvoda: